聯係到訪指南詳細>>

聯係人:鍾生

電 話:020-3827-5901

手 機:

地 址:廣州番禺鍾村街道鍾村

  裝飾材料城B1棟二樓

駕車導航到"鍾村裝飾材料城"

產品詳細介紹 當前位置:首頁 > 產品中心 > 江森傳感器及變送器

江森PO2088C型中高溫壓力變送器

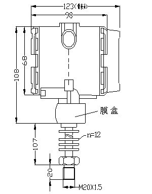
PO2088C型中高溫壓力變送器選用 進口耐高溫敏感元件組裝,產品能在350℃高溫下長期穩定工作。芯體與不鏽鋼外殼之間采用激光冷焊工藝,使其完全融為一體,確保了變送器在高溫狀態下的安 全使用 。傳chuan感gan器qi的de壓ya力li芯xin體ti與yu放fang大da電dian路lu之zhi間jian,用yong聚ju四si氟fu乙yi烯xi墊dian片pian隔ge熱re,並bing加jia油you散san熱re裝zhuang置zhi,內nei部bu引yin線xian孔kong填tian充chong高gao效xiao隔ge熱re材cai料liao矽gui酸suan鋁lv,有you效xiao地di防fang止zhi了le熱re傳chuan導dao,保bao證zheng放fang大da電dian路lu部bu分fen在zai 允許溫度下正常工作。

點擊新窗口打開大圖

介質溫度
散熱片數量
L(mm)
150℃
4
71
250℃
8
99
350℃
12
127

PO2088C型壓力變送器選型表

代碼

2088壓力變送器型號  

PO2088C

廣州萬協2088中高溫壓力變送器                                   見上圖1

代碼

測壓類型           

A

絕壓

G

表壓

代碼

測量範圍           

 

2088係列標準量程表 

代碼

準確度等級           

1

0.1

2

0.2

5

0.5

代碼

防爆類型             

P

普通型

d

隔爆型dBT4

i

本質安全型 iaCT6

代碼

顯示類型                

/

無現場顯示

M1

(0100)%線性指針表

M3

3 1/2LCD數字顯示器

M4

3 1/2LED數字顯示器

M5

智能LCD顯示器

代碼

接口尺寸

2

M20X1.5       外螺紋

3

G1/2          外螺紋

T

特殊規格

代碼

接線方式

1

直接引線(不特別說明,按1米線提供)

2

Hirschmann接頭

3

航空插頭

4

接線端子

T

特殊規格

代碼

輸出信號

E

(420)mA (15V)模擬信號

S

(420)mA智能型,帶HART協議

T

特殊規格

代碼

工作電源

2

24V DC

5

220V AC,50Hz

T

特殊規格

 

PO2088係列壓力變送器標準量程表

     
       

     *表示提供   (空)表示不提供 

表壓代碼

絕壓代碼

測量範圍

量程調節範圍

擴散矽/陶瓷壓阻過載

陶瓷電容過載

擴散矽

陶瓷壓阻

陶瓷電容

G01

 

(04)kPa

(1.65)kPa

6.0kPa

0.6MPa

* 

 

*

G02

 

06kPa

(410)kPa

9.0kPa

0.6MPa

*

 

*

G03

 

010kPa

(420)kPa

15kPa

0.6MPa

*

 

*

G04

 

016kPa

(620)kPa

25kPa

0.6MPa

*

 

*

G05

A05

020kPa

(835)kPa

30kPa

0.6MPa

*

 

*

G06

A06

025kPa

(1035)kPa

40kPa

1.0MPa

*

 

*

G07

A07

030kPa

1235kPa

45kPa

1.0MPa

*

 

*

G08

A08

035kPa

1435kPa

55kPa

1.0MPa

*

 

*

G09

A09

040kPa

1670kPa

60kPa

1.0MPa

*

*

*

G10

A10

060kPa

2470kPa

90kPa

1.0MPa

*

*

*

G11

A11

0100kPa

40100kPa

150kPa

1.0MPa

*

*

*

G12<, /P>

A12

0160kPa

64200kPa

250kPa

1.8MPa

*

*

*

G13

A13

0200kPa

80200kPa

300kPa

1.8MPa

*

*

*

G14

A14

0250kPa

100350kPa

400kPa

2.5MPa

*

*

*

G15

A15

0400kPa

160700kPa

600kPa

2.5MPa

*

*

*

G16

A16

0600kPa

240700kPa

1.0MPa

4.0MPa

*

*

*

G17

A17

01.0MPa

0.41.0MPa

1.5MPa

4.0MPa

*

*

*

G18

A18

01.6MPa

0.642.0MPa

2.5MPa

8.0MPa

*

*

*

G19

A19

02.0MPa

0.82.0MPa

3.0MPa

8.0MPa

*

*

*

G20

A20

02.5MPa

1.03.5MPa

4.0MPa

9.0MPa

*

*

*

G21

A21

04.0MPa

1.64.0MPa

6.0MPa

9.0MPa

*

*

*

G22

A22

(06.0)MPa

2.47.0MPa

9.0MPa

 

*

*

 

G23

A23

(010)MPa

4.010MPa

15MPa

 

*

*

 

G24

A24

(020)MPa

8.020MPa

30MPa

 

*

*

 

G25

A25

(030)MPa

1235MPa

45MPa

 

*

*

 

G26

A26

(040)MPa

1640MPa

60MPa

 

*

*

 

G27

A27

(060)MPa

2460MPa

90MPa

 

*

*

 

G28

 

(-22)kPa

-1.62.5kPa

 

0.6MPa

 *

 

*

G29

 

(-55)kPa

-3.05.0kPa

 

0.6MPa

 *

 

*

G30

 

(-1010)kPa

-6.010kPa

30kPa

0.6MPa

*

 

*

G31

 

(-2020)kPa

-1320kPa

60kPa

0.6MPa

*

 

*

G32

 

(-5050)kPa

-3350kPa

150kPa

0.6MPa

*

 

*

G33

 

(-10060)kPa

-66100kPa

250kPa

1.0MPa

*

 

*

G34

 

(-100100)kPa

-66100kPa

300kPa

1.0MPa

*

 

*

G35

 

(-100150)kPa

-100200kPa

400kPa

2.5MPa

*

 

*

G36

 

(-100300)kPa

-100350kPa

600kPa

2.5MPa

*

 

*

G37

 

(-100500)kPa

150500kPa

1.0MPa

4.0MPa

*

 

*

G38

 

(-100900)kPa

0.241.0MPa

1.5MPa

4.0MPa

*

 

*

G39

 

(-1001.5)MPa

0.51.9MPa

3.0MPa

8.0MPa

*

 

*

G40

 

(-1002.0)MPa

0.52.0MPa

3.0MPa

8.0MPa

*

 

*

                     

注:特殊規格可定製

 
點擊這裏給我發消息
點擊這裏給我發消息